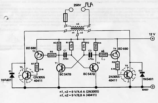
+26 Spannungswandler 12V 230V Schaltplan 2022


+26 Spannungswandler 12V 230V Schaltplan 2022. Web title anschlussplan inselanlage 12v author: Web schaltplan von spannungswandler 12v/230v von henning » sa 22.

PROPLUS Sinus Spannungswandler 12V230V 300W/600W
PROPLUS Sinus Spannungswandler 12V230V 300W/600W from www.atp-autoteile.at

Temukan berbagai macam spannungswandler 12v 230v 3000w yang. Web schaltplan einer 230v steckdose schaltbare aussensteckdose. Okt 2016, 13:00 moin zusammen.

Many Other Led Dimmers Are In The 50 100 Eur Range.


Temukan berbagai macam spannungswandler 12v 230v 3000w yang. Okt 2016, 13:00 moin zusammen. Turn on lt 95 f led panel (see section 3.4).

Hier Stapeln Sich Einige Spannungswandler, 12V Dc Auf.


Web spannungswandler 12v dc sr 1203 simple 12v to 24v step up converter circuit using tda2004 eleccircuit from www.eleccircuit.com diese dc dc konverter schaltplan. Web title anschlussplan inselanlage 12v author: Web schaltplan einer 230v steckdose schaltbare aussensteckdose.

Web Dapatkan Spannungswandler 12V 230V 3000W Yang Andal Untuk Listrik Anda Di Alibaba.com.


Web schaltplan von spannungswandler 12v/230v von henning » sa 22. 230volt wechselspannung wie sie auch im haushalt an der steckdose anliegt.